{{ v.name }}
{{ v.cls }}类
{{ v.price }} ¥{{ v.price }}
随着京东市值突破600亿美元,“京东”的这块招牌也越来越响亮。作为自营式电商,京东已经攀升到互联网企业100强中的第四位。
但其实,在很长一段时间内,京东申请35类(替他人推销)的商标一直没通过。也就是说,京东的命门掌握在别人手中。

2004年,京东开始从实体店迈入电子商务的浪潮中。众所周知,想要进行电子商务方面的业务,就必须申请35类商标,京东也是如此。谁知道申请却连连被拒,原因在于2001年,香河长城公司早已申请注册了“京东”商标第35类。
天无绝人之路,该公司申请的“京东”商标,似乎一直处于闲置的状态,并未实际使用。也就是说,只要有人申请三年未使用撤销申请,有很大几率成功撤销。
神奇的地方是,2011年,还未等京东公司出手,就有人对这个“京东”提出了三年不使用撤销申请。
2011年6月14日商标局受理了申青松以连续三年停止使用为由对第1951253号“京东JINGDONG 及图”商标提出的撤销申请。 经审查,商标局决定:撤销复审商标。
香河长城公司也并未坐以待毙,又向商评委提交了证据材料。但由于证据上未显示时间,因此还是被判决撤销商标。
此后的几年中,虽然商标已经被撤销,但香河长城公司似乎意识到“京东”商标是一块大肥肉,因此在2013年至2016年中,一直不断的通过法院上诉,要求驳回商标委的决定。
2016年5月16日,北京市高级人民法院作出判决,维持原判,商标予以撤销。
至此,这块“京东”商标再无翻身的机会,虽然此案请求撤销的人并非京东公司,但是看客都明白,最大的受益人非京东莫属。因为京东终于可以拿下这枚商标。
你以为刘强东是靠运气捡到的这枚商标?那你就太小看他了,其实从2012年起,也就是撤销注册复审的尾声,刘强东就开始陆陆续续的在35类申请自己的京东商标。

这也给广大商标注册人提供了一个非常好的示范!
提出商标撤三的同时需要进行同步或者一段时间之后的商标注册。不仅可以在撤销他人商标后进行顺利的新商标申请注册,也不会让他人在撤三期间钻空子进行其他近似商标的申请注册!!
需要注意的是,实际的商标申请中,如果被撤销的商标还在撤销流程中,新商标就已经被驳回。这个时候,要注意,一定要进行驳回复审。只要商标被撤销掉,新商标就能顺利注册成功。
对于如今的京东来说,商标已经不仅仅是一个品牌的象征,而是成为在市场上攻城略地的武器。
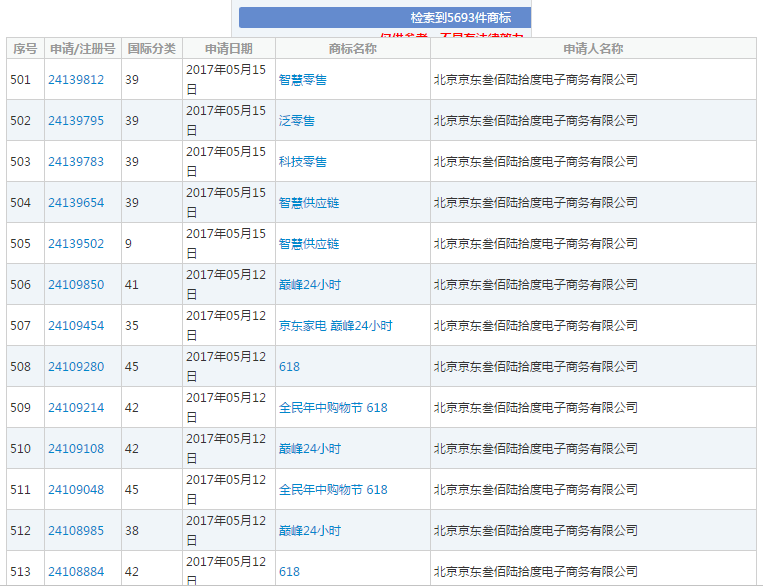
在“双十一”被阿里突袭过后,京东开始为618造势,注册618商标。之后也不断在商标领域进行布局,商标申请年不断增加,至今已经申请了5693件商标。

虽然有时候成功离不开运气,但是只依靠运气是不可能成功的~香河长城公司对撤三的不重视,京东公司对涉及自身品牌的商标监测,共同决定了这起案件的最终结果,香河长城公司将“京东”商标拱手让给了刘强东。
小编也提醒各位,一定要对自己的商标有所规划,不然可能会吃下苦果。另外即便自己心仪的商标一时半会无法得到,也要保持监测,要知道机会只会留给有准备的人喔~