{{ v.name }}
{{ v.cls }}类
{{ v.price }} ¥{{ v.price }}
男装的品牌有很多,不少名称相似,分不清谁才是正主?就比如今天要说的“劲牌”和“劲霸”,到底谁才是真正的品牌?而也正是这一字之差,两家企业对铺公堂,结果到底谁笑到了最后?
劲霸男装VS劲牌男装
资料显示,劲霸男装,总部位于上海,始于1980年,是一家专心、专注于以茄克为核心品类的中国商务休闲男装品牌。现拥有形象统一、规范管理的品牌专卖店2000多家。
根据商标局商标数据,自1991年开始,劲霸就陆续对“劲霸”、“JINGBA”、“劲霸;K.BOXING”、“劲霸男装;K-BOXING”及拳王形象相关商标进行的申请布局。

截止目前,商标申请数量达到515件,涵盖多个类别,且大部分已成功注册,可以说整体商标布局很完善。
那么,劲霸跟劲牌又是怎么产生纠葛的呢?这事要从2017年说起。
2017年9月,劲霸公司发现上海两家沃尔玛商场里的劲牌服饰专卖店内销售的服装、店铺门头、外包装袋、吊牌等上的标识与劲霸公司的注册商标近似,该服装吊牌上载有劲牌公司生产信息。
劲霸公司认为,劲牌公司的行为足以造成相关公众混淆误认,构成商标侵权,故上诉至法院,请求判令劲牌公司立即停止侵权行为,刊登声明、消除影响,赔偿劲霸公司经济损失100万元,劲牌公司上海地区总代理刘某某在30万元范围内承担连带赔偿责任,劲牌公司与刘某某共同负担劲霸公司为本案支出的合理费用1.6万元。

对此,劲牌方面则认为,其系“劲”“劲牌”文字为核心内容的系列注册商标专用权人,且“劲牌”是其自身企业字号,其享有合法使用的权利,因此不构成侵权。
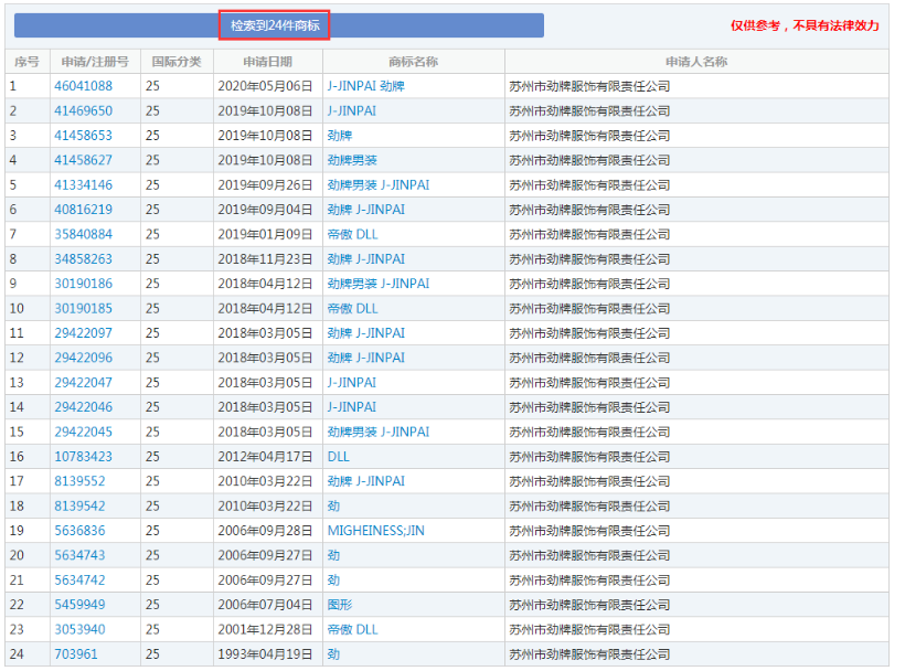
据商标局数据查询显示,截至目前,劲牌公司共申请了24件商标,包括“劲”、“劲牌 J-JINPAI”、“J-JINPAI”、“劲牌男装”等商标,注册类别均为第25类。目前有12件商标注册成功,部分商标处于无效状态。

刘某某辩称其系劲牌公司合法授权的销售商,商品来源合法,其销售行为没有侵犯劲霸公司注册商标专用权。
法院判决:侵权赔偿71.6万
一审法院审理后认为,被诉侵权标识“劲牌男装”与涉案注册商标“劲霸男装”的整体文字运用风格构成近似;诸商标均为图文组合商标,两者在排列组合、文字风格等整体效果上接近,构成近似且足以混淆,故构成侵权。
经过审理,法院一审判决,劲牌公司立即停止侵害涉案注册商标专用权的行为,劲牌公司赔偿劲霸公司经济损失及合理费用71.6万元,刘某某在3.15万元范围内与劲牌承担连带赔偿责任,刘某某就其独自实施的商标侵权行为赔偿劲霸经济损失2万元。
对于一审判决,劲牌与刘某某均表示不服,上诉至上海知识产权法院。
据上海知识产权法院信息,近日,该案迎来了二审判决。上海知识产权法院驳回了劲牌及刘某某上诉,维持一审法院判决。
至此,劲霸与劲牌这两个品牌之间的商标纠纷,以劲霸的胜利而告终。

事实上,近年来,展开维权行动的知名品牌并非只有劲霸一家。想要保护企业品牌,一是需要企业提前做好商标布局;而是需要企业随时监控市场商标信息,掌握商标动态,一旦发现侵权行为,及时维权。
知名名牌打响商标保卫战的案例,一方面说明了商标对于企业的重要性,另一方面也说明了企业主动运用法律维权的重要性!
随着企业知识产权意识的不断提高,“山寨”、傍名牌这条路已经走不通了,而且知识产权惩罚性赔偿力度不断加大,企业还是主动打造原创品牌,不要以身试法才是正道。
图文来源:网络
版权归原作者所有 如有侵权请联系删除
提示:平台的服务,任何动态都会系统短信提示
★ 你可能感兴趣的小知识 ★
欢迎转载,为维护原文的准确、真实性,请勿作原则性修改,转载请注明出处。 云商标www.gx.cn,服务永不止步 “云商标”微信公众号 “云商标”APP 请长按二维码关注微信公众号或下载APP哟❤!~ ⚫自助平台:www.gx.cn ⚫ 服务热线:400-727-7727