{{ v.name }}
{{ v.cls }}类
{{ v.price }} ¥{{ v.price }}
岁末年初,突如其来的疫情,让口罩成了热销品,这就导致平时不常用的口罩成了紧缺物资。也就是在这个紧急关头,不少的企业都转行生产起了口罩。
“好口罩,格力造”,这可不是一句简简单单的说辞。
在大量企业跨界生产口罩之时,格力也不落后。2月10日,除武汉基地以外,格力已经陆续复工,加紧生产温度计、口罩生产设备、护目镜、杀病毒空气净化器、“风无界”新风空调等一系列抗击疫情产品。

3月9日,格力牌口罩火热开卖,有KN95防护级别一次性使用口罩和医用级别一次性使用口罩两种,价格算下来分别是5.5元/只和3元/只。
第一天的1个小时预约,有超6万人预约成功;第二天的1个小时预约,预约人数已经超过47万!
同时,格力在医疗设备领域的布局不止于此,不仅生产口罩等医疗产品,还专门成立了一个公司。
据查询,格力电器的运营主体珠海格力电器股份有限公司全资持股于2月18日成立了珠海格健医疗科技有限公司,由格力电器董秘望靖东出任董事长,经营范围包括第Ⅱ类医护人员防护用品、紫外线消毒设备、生理参数分析测量设备、手术室感染控制用品的设计、制造和销售。
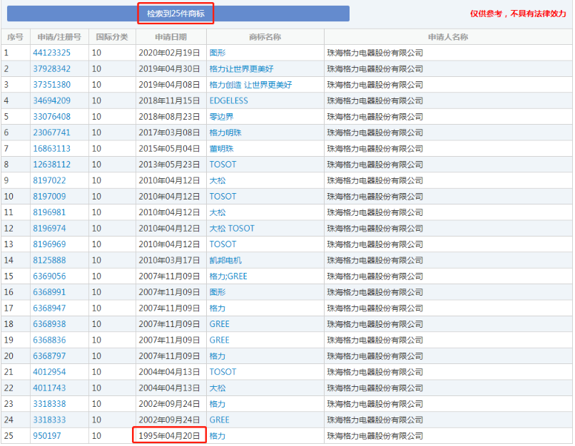
另外,据查在2月19日,格力电器便向商标局提交了两件图形商标的申请,分别注册在第9类科学仪器和第10类医疗器械商品上。目前,以上两件图形商标都处于等待审查阶段。

以上两件申请商标的图案与格力目前出售的KN95口罩上面的图案一样,想来正是为该口罩所申请注册的。
除了上面新申请的商标之外,格力电器在第10类医疗器械领域早有布局,最早在1995年4月就申请注册了第10类“格力”商标。

要知道,格力电器成立于1991年,1996年11月在深交所挂牌上市的。从公司成立到上市之间的5年时间,格力一步步加强商标布局和保护,名下商标几乎全类别覆盖。
目前,格力电器名下商标已经超5000件,这些商标让格力玩起跨界来更加得心应手,免除了后续可能发生的侵权纠纷等后顾之忧。